
ArmadaStation EM (three PCI slots)

Armada notebook on Convenience Base
|
C
|
ompaq makes two Armada-series docking stations that may work for
LD2000 users. Both of these are compatible with multiple Armada
notebook families, including Armada E700, Armada E500, Armada M700
and Armada M300 (with Mobile Expansion Unit). They are not
compatible with Armada 1000, 3000, 4000, 6000 or 7000 Series
notebooks.
Three PCI slot solution
The ArmadaStation EM (model 120266-001) has three PCI slots, so
you can install up to three QM2000 boards. It is relatively large:
18" x 16.9" x 5" (45.7 x 42.9 x 12.6 cm) and weighs
18.3 lbs (8.3 kg).
 |
1. Port replication connectors (rear)
2. Three PCI slots
3. Power button
4. Stereo speakers
5. Keylock
6. USB ports
7. Audio jacks
8. Volume control buttons
|
9. Eject button
10. Power LED
11. Standby button
12. MultiBay activity LEDs
13. Two stacked MultiBays
14. Security latch
15. Half-height bay
16. Removable monitor support
17. Docking connector
|
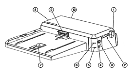
One PCI slot (?) solution
The Armada Convenience Base EM (model 382500-001 or 120971-001)
appears to have one PCI slot. The slot is marked on the diagram
below, but is not in the "Features" list at Compaq's
website. So you may want to double-check with Compaq before buying.
The Convenience Base EM
appears smaller but actually has a similar footprint to the
ArmadaStation EM, with dimensions of: 17.2" x 16.7" x
3.8" (43.6 x 42.4 x 9.7 cm). It weighs about 50% less: 9.5 lbs
(4.3 kg).
 |
1. Eject lever
2. Security lock slot
3. Power button
4. Request to undock button
5. Safe undock LED
|
6. Power LED
7. Security latch
8. PCI slot
9. Docking connector
10. Port replication connectors (rear)
|
|